伊州区人民政府
政府信息公开
政策
政府文件
政府办文件
政策解读
规范性文件
信息公开指南
信息公开制度
法定主动公开内容
机构简介
权责清单
许可处罚强制及其他对外管理
政府预算
政府决算
部门预算
部门决算
政府采购
收费项目
行政事业性收费
规划计划
公务员招录
政府工作报告
信息公开年报
2024年
2023年
2022年
2021年
2020年
2019年
2018年
其他
依申请公开
乡镇街道部门链接
区直部门政府信息公开
乡镇街道政府信息公开
索引号:010614006/2023-01118
发文字号:
公文种类:
发文机关:
成文日期:
2023-05-30
主题分类:
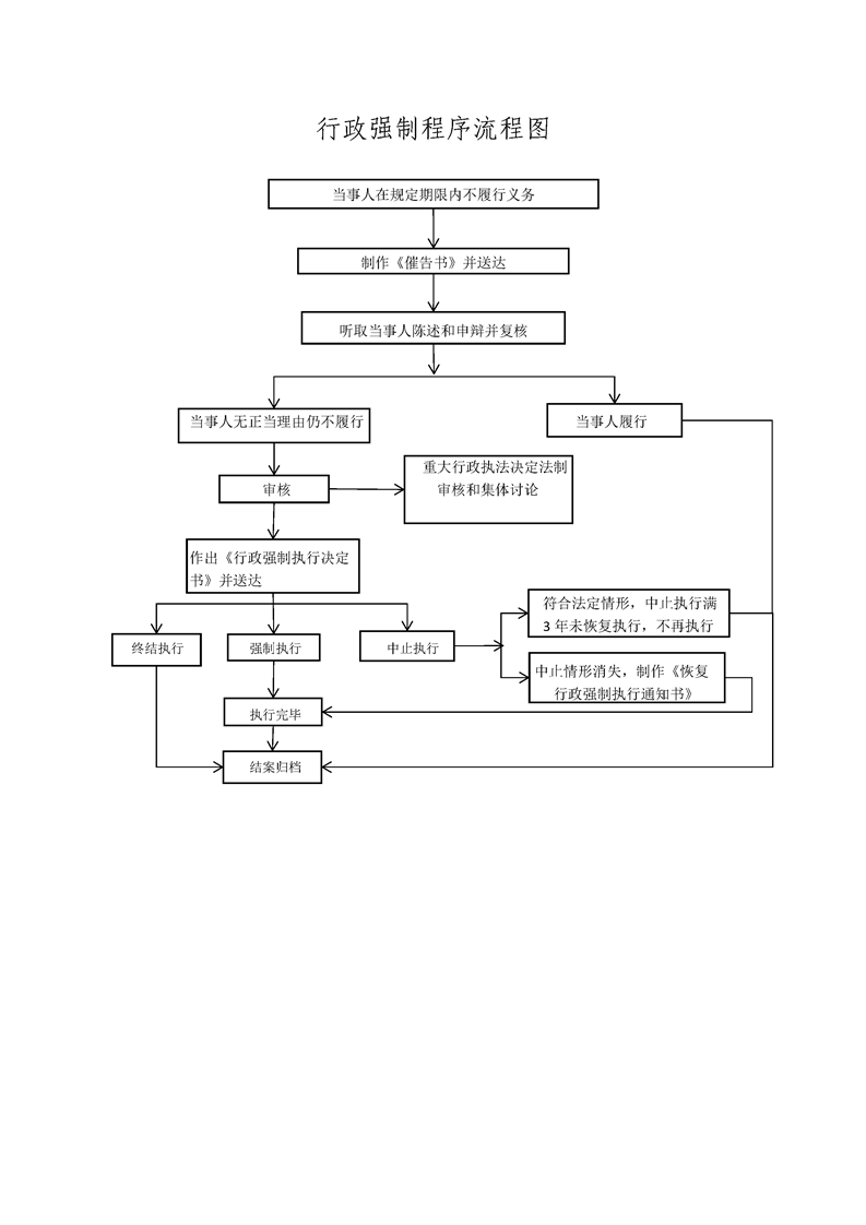
行政强制程序流程图
发布时间:2023-05-30 浏览次数:
【字体:
大
中
小
】
相关文件
友情链接:
自治区政府网站
新疆维吾尔自治区人民政府
市级部门网站
哈密市
区(市)县政府门户网站
伊吾县
巴里坤县
其他网站
天山网
昆仑网
主办:哈密市伊州区人民政府办公室 开办:哈密市伊州区人民政府
承办:哈密市伊州区电子政务服务中心 地址:新疆哈密市伊州区丽园街道松树塘路1号 联系电话:0902-2262216
新公网安备65220102000010号
[新ICP备05001902号-2]
政府网站标识码:6522010001
版权声明
隐私声明
网站地图
区直部门政府信息公开